고객센터
친절히 상담해 드리겠습니다.
052·261·6712
Arm Balance
동산엔지니어링  동산엔지니어링  >  취급품목  >  Arm Balance

Arm Balance

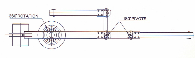
Manipulator Arm System

MAX. CAP REACH "A" "B" "C" "D"
350 LBS 1800 650 750 400
350 LBS 2000 750 850 400
350 LBS 2400 950 1150 400

MAX. CAP "E" "F" "G" "H" "I" "J" Model
150 LBS 450 600 400 340 105 136 MAS-150
225 LBS 500 660 450 342 25 133 MAS-225
350 LBS 600 700 420 365 25 112 MAS-350
* TYPE은 POST TYPE과 SUSPENSION TYPE이 있다.
(MAS-000-P / MAS-000-S) P:PILLAR S: SUSPENSION

Air Mono Rail Hoist Crane

Electric Lng pump Lifter